北斗三号数传终端,型号:H130,支持北斗三号RDSS通信功能,兼容北斗二号RDSS通信功能,RNSS支持北斗+GPS信号体制。具备北斗短报文数据通信、位置报告和导航、定位、授时等功能。
在线咨询订购热线:18610709828
咨询客服,我们为您推荐适合的卫星通信终端产品!
主要功能
1、北斗三号短报文数据传输
2、北斗二号短报文数据传输
3、 4G数据传输(选配)
4、 双北斗用户卡,同时支持1张北斗三号卡和一张北斗二号卡
5、 北斗位置报告
6、北斗、GPS双模定位、导航、授时
主要技术指标
表3-1 主要技术指标
|
物理特征 |
|
|
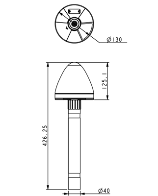
主机尺寸 |
Φ130mm * 125mm(不带支撑杆) |
|
RDSS技术指标 |
|
|
工作频率 |
S: S1、S2C_d、S2C_p L: Lf0、Lf1、Lf2 |
|
接收信号门限功率 |
北斗二号:≤ -127.6dBm 北斗三号: a) 对于专用段24kbps信息帧,≤-123.8dBm b)对于专用段16kbps信息帧, ≤-127.5dBm c)对于专用段8kbps信息帧,≤ -130.0dBm |
|
接收通道数 |
北斗二号:10个 北斗三号:14个 |
|
发射信号功率 |
≥ 37dBm |
|
短报文通信频率 |
默认60秒,根据北斗用户卡的频率确定 |
|
短报文长度 |
北斗二号:70个汉字 北斗三号:1000个汉字 |
|
动态特性 |
速度:300m/s 加速度:4g |
|
RNSS 技术指标 |
|
|
工作频率 |
BD2 B1 1561.098MHz±2.046MHz GPS L1 1575.42MHz±1.023MHz |
|
首次定位 时间 |
冷启动:≤35s 热启动:≤1s |
|
定位误差 |
水平10m,高程10m(95%, PDOP≤4,重点区域) |
|
测速精度 |
0.1m/s |
|
定位测速更新率 |
1Hz |
|
定位模式 |
1)单B1定位 2)单L1定位 3)B1L1兼容定位 |
|
4G |
|
|
通信制式 |
4G全网通 LTE-FDD,LTE-TDD,WCDMA,TD-SCDMA,CDMA,GSM |
|
应用 |
支持4G进行位置报告(选配) |
|
电源 |
|
|
供电电压 |
12V~32V |
|
待机功耗 |
约2瓦 ( 24V | 85mA ) |
|
最大功耗(RDSS发射时) |
≤18W (5W功放,持续时间:约1500ms) |
|
接口特性 |
|
|
通讯端口 |
2路 RS232串口(可定制成422、485接口) |
|
通讯协议 |
2.1协议、北斗三号数据接口协议 |
|
环境指标 |
|
|
工作温度 |
-40℃~ +70℃。 |
|
存储温度 |
-40℃~ +85℃。 |
|
湿热 |
能在为+45℃,相对湿度为95%的环境下正常工作。 |
|
振动 |
符合船用电子设备振动标准SC/T 7002.8-1992,频率1Hz~12.5Hz,位移幅值±1.6mm; 频率12.5Hz~25Hz,位移幅值±0.38mm;频率25Hz~50Hz,位移幅值±0.10mm;每个频率范围内持续振动时间不少于15min。 |
|
碰撞 |
符合船用电子设备碰撞标准SC/T 7002.9-1992,在加速度49m/s2、脉冲持续时间11ms,脉冲重复频率为60次/min~80次/min条件下,碰撞1000次。 |
|
外壳防护 |
终端防护等级IP67。 |
|
盐雾 |
符合船用电子设备盐雾标准SC/T 7002.6-1992,+35℃连续雾化48小时;PH值6.5~7.2;NaCl浓度5%(质量)。 |
|
霉菌 |
符合SC/T 7002.12-1992船用电子设备防长霉标准。 |
接口定义
表4-1 主机接口定义
|
管脚 |
定义 |
备注 |
|
1 |
VCC |
电源+ |
|
2 |
TX2 |
串口2-发 |
|
3 |
RX2 |
串口2-收 |
|
4 |
RX1 |
串口1收 |
|
5 |
GND |
信号地 |
|
6 |
TX1 |
串口1发 |
|
7 |
GND |
电源地 |
|
产品外观图 |
结构尺寸 |
![]() |
![]() |
装箱清单
表6-1 装箱清单
|
序号 |
名称 |
数量 |
备注 |
|
1 |
主机 |
1 |
|
|
2 |
专用线缆 |
1 |
标配:5米 |
|
3 |
支撑杆 |
1 |
|
|
4 |
固定锁紧环 |
2 |
|
|
5 |
使用维护说明书 |
1 |
|
|
6 |
合格证 |
1 |
|
|
7 |
包装箱 |
1 |
|
© 2022 北京华宇飞通科技有限公司 版权所有 京ICP备2022035627号-1